一:六角螺栓类:
备注:1 确认六角对边尺寸
2 确认头部厚度尺寸
3 确认螺杆长度以及螺纹长度
4 确认螺纹的螺距
5 确认外形外观尺寸
6 确认产品标准号
二:法兰螺栓类:
备注:1 确认六角对边尺寸
2 确认头部厚度尺寸
3 确认螺杆长度以及螺纹长度
4 确认法兰盘外径与法兰盘尺寸
5 确认螺纹的螺距
6 确认外形外观尺寸
7 确认产品标准号
三:半圆头方颈螺栓(马车螺栓)类
备注:1 确认四方对边尺寸
2 确认四方厚度尺寸
3 确认螺杆长度以及螺纹长度
4 确认半圆外径与半圆厚度尺寸
5 确认螺纹的螺距
6 确认外形外观尺寸
7 确认产品标准号
四:双头螺杆类

备注:1 确认光杆直径尺寸
2 确认螺杆长度以及螺纹长度
3 确认螺纹的螺距
4 确认外形外观尺寸
5 确认产品标准号
五:全螺纹螺柱类

备注:1 确认螺杆长度以及螺纹长度
2 确认螺纹的螺距
3 确认外形外观尺寸
4 确认产品标准号
六:圆柱头内六角螺钉类
备注:1 确认内六角对边尺寸和内六角孔深度尺寸
2 确认圆柱头部厚度尺寸
3 确认螺杆长度以及螺纹长度
4 确认圆柱头外径尺寸
5 确认螺纹的螺距
6 确认外形外观尺寸
7 确认产品标准号
七:内六角紧定螺钉类
备注:1 确认内六角对边尺寸和内六角孔深度尺寸
2 确认尾部是平端还是锥端,柱端或凹端,尾部不一样,产品标准号不一样
3 确认螺杆长度以及螺纹长度
4 确认螺纹的螺纹
5 确认产品标准号
八:六角螺母类:
备注:1 确认六角对边尺寸
2 确认产品厚度尺寸
3 确认螺纹的螺距
4 确认产品标准号
九:四方螺母类
备注:1 确认四方对边尺寸
2 确认产品厚度尺寸
3 确认螺纹的螺距
4 确认产品标准号
十:六角法兰螺母类
备注:1 确认六角对边尺寸
2 确认产品厚度尺寸以及法兰盘的厚度尺寸
3 确认法兰盘的直径尺寸
4 确认螺纹的螺距
5 确认产品外观与标准号
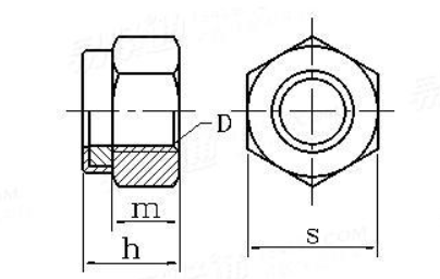
十一:六角尼龙锁紧螺母类
备注:1 确认六角对边尺寸
2 确认产品厚度尺寸以及六角的厚度尺寸
3 确认螺纹的螺距
4 确认产品外观与标准号
十二:六角法兰尼龙锁紧螺母类
备注:1 确认六角对边尺寸
2 确认产品厚度尺寸以及法兰盘的厚度尺寸
3 确认法兰盘的直径尺寸
4 确认螺纹的螺距
5 确认产品外观与标准号
十三:压点金属锁紧螺母类
备注:1 确认六角对边尺寸
2 确认产品厚度尺寸
3 确认螺纹的螺距
4 确认产品压锁紧点的方式与标准号
十四:六角开槽螺母类
备注:1 确认六角对边尺寸
2 确认产品厚度尺寸
3 确认开槽的宽度和开槽的深度尺寸
4 确认螺纹的螺距
十五:开槽圆螺母类
备注:1 确认圆外径尺寸
2 确认产品厚度尺寸
3 确认开槽的宽度和开槽的深度尺寸
4 确认螺纹的螺距
5 确认产品压锁紧点的方式与标准号
十六:平垫圈类
备注:1 确认圆外径尺寸
2 确认产品厚度尺寸
3 确认产品外观和产品标准号
十七:弹簧垫圈类
备注:1 确认圆外径尺寸
2 确认产品厚度尺寸
3 确认产品外观和产品标准号
第二章:统一形状,不同标准号的产品有哪些
一:国标(GB)
1 GB6170六角螺母 GB6171六角细牙螺母
GB6172六角薄螺母 GB6173六角细牙薄螺母
2 GB6184六角金属锁紧螺母 GB6185六角厚型金属锁紧螺母
二:德标(DIN)
想了解更多金力紧固件螺丝螺母的知识,可详询页面上电话,即可为您解答!